An einem XL2 Gepäckfach ist der Verschlusshaken am Deckel abgebrochen.
Ich möchte das reparieren.
Kann mir einer ein Bild und vlt. die Maße für den Haken geben?
Verschluss Deckel Gepäckfach
-
-
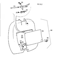
Naja erstmal die Explo im Anhang. Hab ich hier ausm Forum!
Die Maße des Hakens würd ich dir zwar gern vermessen aber meine Kleine steht noch bei meinen Großeltern
in ich darf sie fahrn und poliern und drann rumschrauben aber sicherheitsverwahrung...gz, Andi
-
Hi ich kann Dir die Masse auch nicht geben, dafür müßte ich das Gepäckfach abbauen. Aber wenn du diesen Hebel anfertigen willst, genügt für die Masse der Rest der noch da ist.
Das abgebrochene Stück sollte noch hinter dem Fach liegen, da es nicht herausfallen kann. Wenn Du aber den alten Hebel nicht mehr hast, wird es schwierig. Da kannst Du nur versuchen bei E-Bay was zu finden. Die form des Hebels ist zimlich kompliziert. Da isr erstens ein Röhrchen, andem einen Ende der Haken der die Klappe hält. An der anderen Seite ist ein Winkel welcher mit dem Schloß betätigt wird.MfG klaus
-
es scheinen nur 32 und 54 zu fehlen.
Der Rest ist dran und heile -
Hi sind die die zwei Nippel auf der Klappe noch da, in welche die Schrauben kommen? Als Anhang mal ein paar Bilder.
MfG
-
genau das!
dank dir
Werde versuchen mal improvisieren müssen -
Halli Hallo.
Habe das gleiche Problem. Mir fehlt auch die Halterung am Deckel (Teil 32).
Kannst ja mal berichten wie du das Problem gelöst hast.
Bei mist ist auch noch das Problem das ein Plastik Nippel für die Schraube abgebrochen ist.Ist dies das beschriebene Teil, das fehlt: SIP, Art.-Nr.: 25242000 ?
