SIP Scootershop | Vespa Tuning & Scooter Parts

Beiträge von riede


    licht einschalten ausschalten mit massiven änderen in der drehzahl deutet auf einen fehler im zündbereich hin, oft stirebt demnächst der pickup oder die cdi. die teile würde ich an deiner stelle auf reserve halten.

    @chup4 danke für die anwort. ich kann leider mit den begriffen wie pickup und cdi nich viel anfangen. gibts da irgendwo einen bereich, in dem diese erklärt werden?

    Hallo liebe Vespa-Freunde,
    ich habe seit kurzem ein PK 50 XL 2 und mir ist folgendes aufgefallen:
    Ich habe das Standgas an meiner Vespa neu eingestellt, weil sie etwas niedertourig lief. Dabei hatte ich kein Licht an. So weit so gut.. Sie lief jetzt schön ruhig und war am tuckern. Nachdem ich das Licht (Rücklicht und Scheinwerfer leuchten) dann angeschaltet habe, sind die Drehzahlen des Motors spürbar heruntergegangen, sodass sie von alleine ausgegangen ist. Nun habe ich das Standgas mit Licht eingestellt, sodass sie nicht mehr ausgeht. Wenn ich das Licht jetzt ausschalte, dreht sie im Standgas hoch und läuft für das Standgas eigentlich viel zu hoch.
    Woran liegt das? Ist die Lichtmaschine kurz vorm kaputt gehen oder muss da einfach irgendwo mal was geschmiert werden oder ist das ganz normal, dass die Drehzahl des Motors so stark herunter geht, wenn die Lichtmaschine genutzt wird.

    Vielen Dank schoneinmal im Voraus ;)
    Gruß
    riede

    hast du den vergaser richtig eingestellt? in dem fall würde ich nicht gleich auf falschluft tippen.


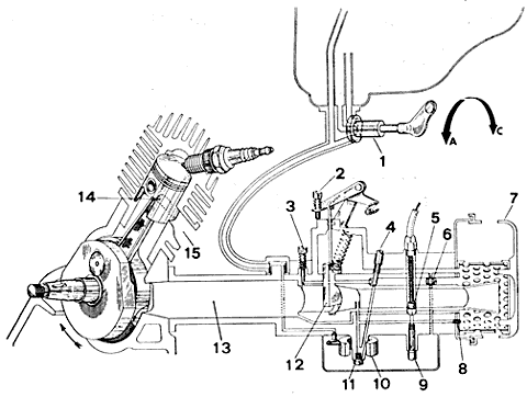
    das standgas war etwas niedrig eingestellt. habe es über die standgasschraube am vergaser (nr. 2 im bild) etwas erhöht und jetzt läuft sie wieder, ohne aus zu gehen. oder war das nicht so gut? gibt es eine grundstellung, von der man den vergaser neu einstellen sollte? (ich weiß leichtes offtopic)

    Hallo allerseits,
    habe den Thread gerade mal überflogen und wollte mich hier auch mal kurz einklinken. samis99, du bist nicht die einzige, der (dem) das passieren kann ;) . Ich habe mir vor kurzem eine XL 2 geholt und die zieht glaube ich auch Falschluft.

    auch immer ne probefahrt von 20 min machen, die karren ziehen oft erst bei warmen motor falschluft.


    kann ich bestätigen. habe bei meiner probefahrt nichts davon gemerkt. sie läuft am anfang einwandfrei und später bei runterschalten kommt sie manchmal (aber eher selten) nicht runter. => falschluft?

    gruß
    riede

    Danke für die vielen Antworten :thumbup:
    Zur Information aller Beteiligten sei eins gesagt, der Roller befindet sich in einem unverbasteltem Zustand.

    Nun gut, dann ist es ja gut zu wissen, dass das wohl normal ist, wenn sie weich abfedert. Ein Nachfedern oder gar Hüpfen bei der Fahrt habe ich noch nicht bemerkt aber ich achte die nächsten Tage mal drauf. Des Weiteren werde ich später mal runter gehen und schauen, ob ich eine Bezeichnung oder so am Stoßdämpfer finde.

    dann musst du mal den von einer %0n sehen, wenn du die vordere bremse ziehst, kannst du den problemlos einfedern, bei einem neuen dämpfer.


    ich verstehe den ersten teil mit "%on" nicht. was meinst du damit?

    gruß

    Hallo ich schon wieder:-6,
    mir ist gestern bei einer kleinen Tour mit meiner Vespa aufgefallen, dass der Stoßdämpfer vorne gefühlt sehr weich ist. Das meißte Gewicht liegt ja hinten und ich bin mir da nicht sicher, ob das so muss oder ob der vordere Stoßdämpfer auf ist und ersetzt werden sollte. Gibt es da irgend ein Maß, eine Regel o.ä., an welche(s) man sich halten kann, um das zu bestimmen?

    Besten Gruß
    riede

    ich glaube gar keinen.


    doch, habe einen bei ebay gesehen aber der wird wohl nicht mehr hergestellt . des weiteren stande ich heute zufällig neben einer pk 50, die den gleichen drauf hatte.

    stimmt du hast recht, da wird viel mist verzapft. der richtige sieht so aus, alles andere führt da zu, dass sich der plastikrahmen verbiegt und bricht. der unterschied ist im kreis zu sehen. auch wenn da automatik steht, das ist bei der xl2 gleich.


    gut zu wissen :) . dann werde ich mich mal nach einem gut erhaltenen umschauen. wenn jemand einen übrig hat, kann ja kurz ne pn an mich schicken ;)

    Hallo Leute,
    ich habe mir vor einigen Tagen eine Vespa PK 50 XL 2 zugelegt und bin gerade dabei, sie ein wenig aufzupolieren. Hierzu wollte ich u.a. diesen Gepäckträger an ihr montieren.
    Wie ihr sehen könnt, ist dieser wohl für mein Modell konzipiert und sollte eigentlich einfach zu montieren sein. Das zweite Bild des Gepäckträgers bei SIP zeigt ihn sogar montiert an einer PK. Mein Probem ist nur, dass ich diesen nicht montieren kann, weil er einfach nicht passt. Ich habe mal ein Bild angehängt, wo ich den alten (schwarzen) und den neuen Chrom-Gepäckträger sehen könnt. Beim neuen ist die hintere Querstrebe zum verschrauben irgendwie weiter hinten. Des Weiteren bietet sie keinen Platz für das Schloss, so wie es der alte tut.

    Beachte ich irgendwas nicht, sodass er doch pass oder ist das eine fehlerhafte Angabe bei SIP? Letzteres kann ich mir jedoch nicht vorstellen, da bei scooter-center.com die gleichen Angaben stehen.
    Vielen Dank schon einmal im vorraus.

    Besten Gruß
    riede

    Hallo zusammen,
    bin seit kurzem stolzer Besitzer einer PK 50 XL2 vom 1993 und schau seitdem des öffteren hier mal rein um mich zu informieren.
    Ich studiere Informatik (Master), höre gern Elektro & House aber auch alles andere und will jetzt in meiner Freizeit an meiner Hübschen rumschrauben und sie aufpolieren.