1. Vespa Forum
    1. Unerledigte Themen
  2. Dashboard
  3. Galerie
    1. Alben
    2. Karte
  4. Lexikon
  • Anmelden
  • Registrieren
  • Suche
Dieses Thema
  • Alles
  • Dieses Thema
  • Dieses Forum
  • Forum
  • Galerie
  • Lexikon
  • Seiten
  • Erweiterte Suche
  1. VespaOnline Forum: Entdecke die Welt der klassischen Vespa-Roller und teile deine Leidenschaft
  2. Vespa Smallframe Roller
  3. Smallframe: Technik und Allgemeines

Handschuhfach geht nicht mehr auf

  • Quak
  • October 5, 2007 at 15:19
  • Quak
    Fortgeschrittener
    Punkte
    2,150
    Trophäen
    1
    Beiträge
    392
    Bilder
    3
    Wohnort
    München
    Vespa Typ
    50 R Bj. 80
    • October 5, 2007 at 15:19
    • #1

    Hallo,

    bei meiner XL 2 geht das Handschuhfach nicht mehr auf.
    Ich hab es schon mit einem Schraubenzieher und einem Spachtel versucht, aufzuhebeln, aber da ging nix. Wollte auch nix kaputtmachen. Irgendwo hängts.
    Ich habschon vor längerem an die Klappe außenrum Isolierband geklebt, weil es bei der Fahrt immer vibriert hat. Vielleicht liegt da auch das Problem begraben...
    Hat irgendwer eine Idee, wie das Ding aufzubekommen ist, ohne es zu zerstören?

    Gruß
    Jonas

  • Quak
    Fortgeschrittener
    Punkte
    2,150
    Trophäen
    1
    Beiträge
    392
    Bilder
    3
    Wohnort
    München
    Vespa Typ
    50 R Bj. 80
    • October 5, 2007 at 17:50
    • #2

    Hab jetzt mal ein wenig von der Seite reingelinst.
    Den Schlüssel hab ich reingedrückt, allerdings tut sich innerhalb des Handschuhfachs gar nichts.
    Wenn ich das richtig sehe, kommt von oben ein Haken aus Metall richtig? Ich habe versucht, ihn manuell mit Hilfe eines Schraubenziehers zu betätigen, allerdings scheint das Ding irgendwie ziemlich festzusitzen. Gibts einen Trick?
    Was ist die zerstörungsärmste Methode, das Fach aufzumachen?

    Will meine Handschuhe wieder, es ist kalt...! :dash:

  • Quak
    Fortgeschrittener
    Punkte
    2,150
    Trophäen
    1
    Beiträge
    392
    Bilder
    3
    Wohnort
    München
    Vespa Typ
    50 R Bj. 80
    • October 6, 2007 at 11:44
    • #3

    Hat jemand ne Explosionszeichnung vom Verschluss? :rolleyes:

  • Roman Esco
    Erleuchteter
    Reaktionen
    58
    Punkte
    24,318
    Trophäen
    1
    Beiträge
    4,595
    Wohnort
    Pontedera
    Vespa Typ
    Lampe Vorne
    Vespa Club
    Roller-aus-Blech
    • October 6, 2007 at 11:58
    • #4

    -Edit-

    Einmal editiert, zuletzt von Roman Esco (October 6, 2007 at 12:08)

  • kasonova
    Foren-Inventar
    Reaktionen
    43
    Punkte
    31,593
    Trophäen
    2
    Beiträge
    6,227
    Bilder
    10
    Einträge
    3
    Wohnort
    Solingen
    Vespa Typ
    Vespa ET2, V50 Spezial, PK 50 XL2
    • October 6, 2007 at 14:37
    • #5

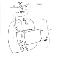
    Hi dasa ist schlecht. ich hab da mal eine Zeichnung angehängt, und werd jetzt mal in der Werkstatt schauen, ob ich ein Foto machen kann.

    So, hier sind die Bilder. Der Hebel bricht leider immer an dieser Stelle (wie auch hier). wenn Du ein kleines Loch an dieser Stelle bohrst, solltest Du den Haken anheben können.

    klaus

    Bilder

    • Kasten_PK_XL2.jpg
      • 25.57 kB
      • 551 × 533
    • Handschuhkasten1.JPG.JPG
      • 76.67 kB
      • 1,248 × 960
    • Handschuhkasten2.JPG.JPG
      • 116.99 kB
      • 1,248 × 960

    Einmal editiert, zuletzt von kasonova (October 6, 2007 at 15:27)

  • Quak
    Fortgeschrittener
    Punkte
    2,150
    Trophäen
    1
    Beiträge
    392
    Bilder
    3
    Wohnort
    München
    Vespa Typ
    50 R Bj. 80
    • October 6, 2007 at 17:40
    • #6

    Super, danke für die Bilder kasonova.
    Wir haben es zum Glück doch noch geschafft, von außen mit einem Schraubenzieher ins Fach reinzugehen und den Mechanismus zu betätigen.
    Morgen kommt dann das Fach ab, und dann sehen wir, was Sache ist. Wird wohl der Hebel gebrochen sein.
    Wo bekommt man sowas denn her?

  • Schwidi
    Meister
    Reaktionen
    4
    Punkte
    13,919
    Trophäen
    1
    Beiträge
    2,605
    Bilder
    32
    Wohnort
    Mainhatten
    Vespa Typ
    PX 200 E Lusso Der Rest kommt und geht, aber Horst bleibt!
    • October 6, 2007 at 20:37
    • #7


    Sollte dabei sein. ^^

    Verkaufe ständig Teile PX, Cosa, PK

  • kasonova
    Foren-Inventar
    Reaktionen
    43
    Punkte
    31,593
    Trophäen
    2
    Beiträge
    6,227
    Bilder
    10
    Einträge
    3
    Wohnort
    Solingen
    Vespa Typ
    Vespa ET2, V50 Spezial, PK 50 XL2
    • October 7, 2007 at 10:01
    • #8

    Hallo Schwidi, sollte, ist aber nicht!!!!

    klaus

  • Schwidi
    Meister
    Reaktionen
    4
    Punkte
    13,919
    Trophäen
    1
    Beiträge
    2,605
    Bilder
    32
    Wohnort
    Mainhatten
    Vespa Typ
    PX 200 E Lusso Der Rest kommt und geht, aber Horst bleibt!
    • October 7, 2007 at 10:18
    • #9

    :dash:

    Verkaufe ständig Teile PX, Cosa, PK

  • Schwidi
    Meister
    Reaktionen
    4
    Punkte
    13,919
    Trophäen
    1
    Beiträge
    2,605
    Bilder
    32
    Wohnort
    Mainhatten
    Vespa Typ
    PX 200 E Lusso Der Rest kommt und geht, aber Horst bleibt!
    • October 7, 2007 at 10:20
    • #10

    @ Kasanova Hab versucht zu helfen.!!!!!!

    Verkaufe ständig Teile PX, Cosa, PK

  • kasonova
    Foren-Inventar
    Reaktionen
    43
    Punkte
    31,593
    Trophäen
    2
    Beiträge
    6,227
    Bilder
    10
    Einträge
    3
    Wohnort
    Solingen
    Vespa Typ
    Vespa ET2, V50 Spezial, PK 50 XL2
    • October 7, 2007 at 10:34
    • #11

    Hallo Jonas, zum Ausbau des Handschuhfaches, unter Tips und Tricks Zündschloß

    mfg klaus

  • Quak
    Fortgeschrittener
    Punkte
    2,150
    Trophäen
    1
    Beiträge
    392
    Bilder
    3
    Wohnort
    München
    Vespa Typ
    50 R Bj. 80
    • October 7, 2007 at 14:54
    • #12

    Jep, hatte das Ding ja schonmal runter, war also jetzt beim zweiten Mal auch kein großes Problem.

    Zum Glück ist nichts kaputt, es war nur der Stift an der einen Seite rausgerutscht, keine Ahnung wie das passieren konnte.
    Ich hab ihn jetzt an beiden Seiten mit etwas Klebeband vorm erneuten rausrutschen gesichert.

    Danke für die Hilfe :thumbup:

  1. Datenschutzerklärung
  2. Impressum
  3. Kontakt
  4. Geschichte der Vespa bei Wikipedia
  5. Nutzungsbedingungen
Made with ♥ in Bavaria
Community-Software: WoltLab Suite™