PK 50 Bj. '83 Gepäckfach ist noch ohne Schloß. Kann mir jemand sagen, aus welchen Teilen daieses Schloß besteht? Oder vielleicht eine Explosionszeichnung oder Foto? Bei SIP habe ich folgende Teile gefunden: Druckknopf, Druckhebel, Feder, Haken, Schließhebel, Schließzylinder. Ist das alles, was man braucht? Habe leider nirgends eine andere PK in der Nähe, wo ich mir das mal ansehen könnte ![]()
Schloß Gepäckfach PK
-
-
is es denn ne pk s? die haben nämlich andere schlößer als die xl reihe.
-
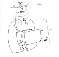
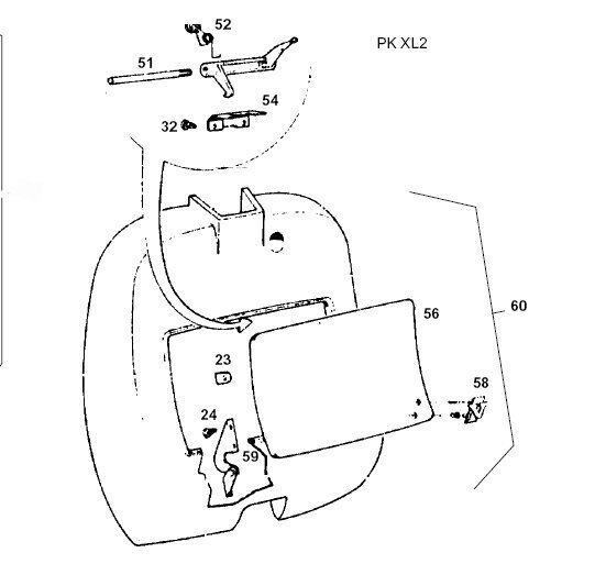
Ist eine PK von 1983, XL kam doch viel später. Der Deckel hat oben drauf ein 4eckiges Loch für den Druckknopf und vorne ein rundes für den Schließzylinder...aber wies innen drin weitergehen soll, weiß ich nicht.
-
Hallo;
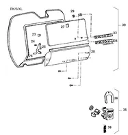
da es nun einmal mehrere Typen der PK50 giebt, hier die Alternativen.MfG klaus
-
das wäre dann das handschufach ganz links , allerdings ist auf der explosionszeichnung kein schloss dabei, meine s hat nämlich auch keins, hab mich damit aber noch nie beschäftigt, gibts da überhaupt eins?
-
Super, das hilft mir schon mal weiter. Es ist das linke. Ich denke da kommt ein Schließzylinder rein durch das Loch vorne...wofür sollte es denn sonst da sein... oder???
-
hab grad nochmal nachgesehen, der schliießzylinder wird einfach ins loch geschoben , kein rumgebasteln wie bei der xl
