1. Vespa Forum
    1. Unerledigte Themen
  2. Dashboard
  3. Galerie
    1. Alben
    2. Karte
  4. Lexikon
  • Anmelden oder registrieren
  • Suche
Dieses Thema
  • Alles
  • Dieses Thema
  • Dieses Forum
  • Forum
  • Galerie
  • Lexikon
  • Seiten
  • Erweiterte Suche
  1. VespaOnline Forum: Entdecke die Welt der klassischen Vespa-Roller und teile deine Leidenschaft
  2. Vespa Smallframe Roller
  3. Smallframe: Technik und Allgemeines

Schloß Gepäckfach PK

  • ChrisS
  • July 24, 2007 at 10:12
  • ChrisS
    Anfänger
    Punkte
    285
    Beiträge
    45
    Wohnort
    Thüringen
    Vespa Typ
    PK 50 S
    • July 24, 2007 at 10:12
    • #1

    PK 50 Bj. '83 Gepäckfach ist noch ohne Schloß. Kann mir jemand sagen, aus welchen Teilen daieses Schloß besteht? Oder vielleicht eine Explosionszeichnung oder Foto? Bei SIP habe ich folgende Teile gefunden: Druckknopf, Druckhebel, Feder, Haken, Schließhebel, Schließzylinder. Ist das alles, was man braucht? Habe leider nirgends eine andere PK in der Nähe, wo ich mir das mal ansehen könnte :(

  • dark_vespa
    muffi_darky
    Reaktionen
    50
    Punkte
    28,720
    Trophäen
    2
    Beiträge
    5,574
    Bilder
    18
    Einträge
    1
    Wohnort
    Würzburg
    Vespa Typ
    Kleinblechverstümmler
    • July 24, 2007 at 10:21
    • #2

    is es denn ne pk s? die haben nämlich andere schlößer als die xl reihe.

    ESC # 582

  • ChrisS
    Anfänger
    Punkte
    285
    Beiträge
    45
    Wohnort
    Thüringen
    Vespa Typ
    PK 50 S
    • July 24, 2007 at 10:49
    • #3

    Ist eine PK von 1983, XL kam doch viel später. Der Deckel hat oben drauf ein 4eckiges Loch für den Druckknopf und vorne ein rundes für den Schließzylinder...aber wies innen drin weitergehen soll, weiß ich nicht.

  • kasonova
    Foren-Inventar
    Reaktionen
    43
    Punkte
    31,593
    Trophäen
    2
    Beiträge
    6,227
    Bilder
    10
    Einträge
    3
    Wohnort
    Solingen
    Vespa Typ
    Vespa ET2, V50 Spezial, PK 50 XL2
    • July 24, 2007 at 10:52
    • #4

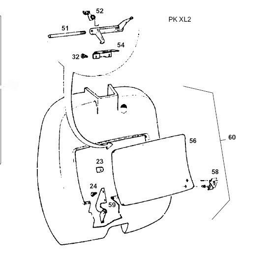
    Hallo;
    da es nun einmal mehrere Typen der PK50 giebt, hier die Alternativen.

    MfG klaus

    Bilder

    • Kasten_PK_Standart.jpg
      • 24.26 kB
      • 465 × 471
      • 392
    • Kasten_PK_XL2.jpg
      • 25.57 kB
      • 551 × 533
      • 314
    • Kasten_PK_S_XL.jpg
      • 30.09 kB
      • 529 × 559
      • 280
    • Kasten_Text.jpg
      • 105.29 kB
      • 547 × 896
      • 328
  • dark_vespa
    muffi_darky
    Reaktionen
    50
    Punkte
    28,720
    Trophäen
    2
    Beiträge
    5,574
    Bilder
    18
    Einträge
    1
    Wohnort
    Würzburg
    Vespa Typ
    Kleinblechverstümmler
    • July 24, 2007 at 11:00
    • #5

    das wäre dann das handschufach ganz links , allerdings ist auf der explosionszeichnung kein schloss dabei, meine s hat nämlich auch keins, hab mich damit aber noch nie beschäftigt, gibts da überhaupt eins?

    ESC # 582

  • ChrisS
    Anfänger
    Punkte
    285
    Beiträge
    45
    Wohnort
    Thüringen
    Vespa Typ
    PK 50 S
    • July 24, 2007 at 11:25
    • #6

    Super, das hilft mir schon mal weiter. Es ist das linke. Ich denke da kommt ein Schließzylinder rein durch das Loch vorne...wofür sollte es denn sonst da sein... oder???

  • dark_vespa
    muffi_darky
    Reaktionen
    50
    Punkte
    28,720
    Trophäen
    2
    Beiträge
    5,574
    Bilder
    18
    Einträge
    1
    Wohnort
    Würzburg
    Vespa Typ
    Kleinblechverstümmler
    • July 24, 2007 at 16:05
    • #7

    hab grad nochmal nachgesehen, der schliießzylinder wird einfach ins loch geschoben , kein rumgebasteln wie bei der xl

    ESC # 582

  1. Datenschutzerklärung
  2. Impressum
  3. Kontakt
  4. Geschichte der Vespa bei Wikipedia
  5. Nutzungsbedingungen
Made with ♥ in Bavaria
Community-Software: WoltLab Suite™