1. Vespa Forum
    1. Unerledigte Themen
  2. Dashboard
  3. Galerie
    1. Alben
    2. Karte
  4. Lexikon
  • Anmelden oder registrieren
  • Suche
Dieses Thema
  • Alles
  • Dieses Thema
  • Dieses Forum
  • Forum
  • Galerie
  • Lexikon
  • Seiten
  • Erweiterte Suche
  1. VespaOnline Forum: Entdecke die Welt der klassischen Vespa-Roller und teile deine Leidenschaft
  2. Vespa Smallframe / Largeframe / Wideframe Roller
  3. Restaurationen, Lack & Optik

Guter Rat bei Investition in meine neue PK 50 XL Automatica

  • Namor
  • September 9, 2013 at 23:46
  • Benn
    Anfänger
    Reaktionen
    1
    Punkte
    281
    Beiträge
    54
    Wohnort
    Offenbach am Main
    Vespa Typ
    vespa VA52T PK 50 xl Automatik
    • July 1, 2014 at 22:19
    • #161

    Namor Also läuft sie ja????
    Ich Bin sehr Stolz auf dich Endlich ein Automaten Fahrer mehr auf der Straße 2-) !! :thumbup:
    Gruß Benny!

  • Hollaender83
    Fortgeschrittener
    Reaktionen
    20
    Punkte
    1,915
    Trophäen
    1
    Beiträge
    372
    Wohnort
    Karlsruhe
    Vespa Typ
    PK 50 XL 2, Automatik, Bj. 92, VA52T
    • July 2, 2014 at 11:14
    • #162

    Hi Namor,

    Glückwunsch zur funktionierenden Vespa!
    Bei mir klingelt gar nix. Bei mir piepts zwar ab und an mal, aber mehr auch nicht :P

    Ein klingeln kann durch zu wenig Öl im Getriebe, von losen Riemenscheiben oder von einem falsch eingestellten ZZP kommen.
    Öl im Getriebe sollte ja nach Deiner Revision vorhanden sein. Besser aber nochmal nachkontrollieren.
    Eine lose Riemenscheibe kannst Du versuchen wieder festzubekommen
    Falscher ZZP kann von abgeschertem Keil auf der KuWe oder verrutschter ZGP kommen. Würd ich auf jeden Fall mal nachprüfen.

    Ich hab meine Vespa gestern übrigens knappe 5 km nach hause geschoben....Plattfuß hinten... :+1

    Gruß, Manuel

    Es gibt keine Probleme - es gibt nur Herausforderungen

  • Namor
    Schüler
    Reaktionen
    4
    Punkte
    774
    Trophäen
    1
    Beiträge
    144
    Vespa Typ
    auf der Suche nach einer PX bis ca. 1983
    • July 2, 2014 at 15:47
    • #163

    Das klingeln beginnt erst paar sekunden nach dem Starten.
    Ich schätze mal wenns von der ZGP kommen sollte, wäre es gleich von anfang an da...

    Heute werde ich mal den Tank und die Züge einbauen, damit man schonmal ne runde drehen kann.... Danach kommt die Elektronik dran.
    Dazu schonmal die erste Frage: Ich hab eine Elestart ZGP mit 5 Kabel dran, wird
    die ganze Elektronik damit funktionieren obwohl die Vespa keine elestart ist?

  • Hollaender83
    Fortgeschrittener
    Reaktionen
    20
    Punkte
    1,915
    Trophäen
    1
    Beiträge
    372
    Wohnort
    Karlsruhe
    Vespa Typ
    PK 50 XL 2, Automatik, Bj. 92, VA52T
    • July 2, 2014 at 15:56
    • #164

    Oh, das ist eine gute Frage.... Hab hier im Forum mal was drüber gelesen. Du hast also auch keine Batterie, richtig? Evtl. mal die Frage an @Automatix oder @kasanova stellen. Die dürften diesbezüglich etwas deutlicher Auskunft dazu geben können.

    Beginnt das Klingeln auch im Standgas oder erst wenn Du die Drehzahl erhöhst?

    Gruß, Manuel

    Es gibt keine Probleme - es gibt nur Herausforderungen

  • Namor
    Schüler
    Reaktionen
    4
    Punkte
    774
    Trophäen
    1
    Beiträge
    144
    Vespa Typ
    auf der Suche nach einer PX bis ca. 1983
    • July 6, 2014 at 11:45
    • #165

    Also Freunde, hab jetzt mal die Vespa soweit zusammengeschraubt und wollte gestern mal wieder starten, aber....
    sie bockt. Nachdem ich wie o.beschrieben einen positiven ersten Startversuch hatte, hats gestern leider nicht funktionert.

    Mit Bremsenreiniger startet sie nun, aber sie fängt irgendwan an hochzudrehen. Kriege sie kaum aus, da ja die Elektrik noch nicht angeschlossen ist. Hab da etwas Bammel, da sie so hochdreht und fast alles auseinander zu fliegen droht =O
    Bzw, stellt Euch mal vor ich leg die Fahtstellung ein und das Teil geht ab wie ne Rakete und ich baller ohne Kontolle durch die Gegend... ?(8)
    Manchmal startet sie auch ohne hoch zu drehen, geht aber beim Gasziehn aus, auch beim Chokedrücken geht sie irgendwann aus.

    Ich hoffe nicht, dass es irgendwie Falschluft ist, da sie beim ersten versuch vor paar Tagen eher ruhig ohne hochdrehen lief???

    Mein Setup:

    Pinasco 75ccm mit abgedrehtem Kopf
    Vergaser mit 82er Düse
    1:50 Gemisch (da bei gefüllten Öltank nichts rauskommt, kein Plan warum?)

  • Namor
    Schüler
    Reaktionen
    4
    Punkte
    774
    Trophäen
    1
    Beiträge
    144
    Vespa Typ
    auf der Suche nach einer PX bis ca. 1983
    • July 10, 2014 at 19:43
    • #166

    Auch wenn keiner Interesse hat mir zu helfen, schreibe ich trotzdem weiter:

    Problem "starten" und "hochdrehen" ist gelöst: Fehler: abgeknickter Benzinschlauch :( und festhängende Gasgestänge.
    Den Benzinhahn habe ich ausgetauscht, Vespa läuft nun sauber mit etwas klingeln. Bin auch schon ne Runde gefahren.
    Gefühlte 40-50 kmh habe ich draufbekommen, mehr habe ich mich nicht getraut, denn:
    -durch das blöde Gestänge schließt der Vergaser nicht dicht und die Vespa will nicht anhalten
    -Vespa riecht etwas nach heißem Gummi
    -auf der unteren Riemenscheibe ist sternförmig etwas Getriebeölaufgetaucht alsob es von der Scheibenmutter fein rausspritzen würde...
    -Vespa eiert ein wenig bei höheren Geschwindigkeit

    aber das wichtigste ist, die Elektronik.
    Ich muss unbedingt als nächstes die Verkabelung hinbekommen. Leider habe ich von den Kabeln keine Ahnung.
    Bei mir ist eine 5-Kabel Zündung eingebaut obwohl ich keine E-start habe.
    Wie bekomme ich es hin, dass die Elektronik funktioniert. Muss ma irgendwelche Stecker umstecken?

  • rassmo
    Foren-Himbeertoni
    Reaktionen
    2,600
    Punkte
    62,135
    Trophäen
    3
    Beiträge
    11,831
    Einträge
    10
    • July 10, 2014 at 20:01
    • #167

    Das keiner Interesse hat würde ich nicht sagen, nur kann eben nicht jeder bei einer Automatik helfen.
    Tendentiell würde ich sagen das du schneller Rat bekommst wenn du die Threadüberschrift dem jeweiligen Problem anpasst. Gerade das Elektrikproblem vermutet wahrscheinlich keiner der sich zwar mit Elektrik aber nicht mit Automatik auskennt.

    Jeder will alt werden, aber keiner will alt sein.

  • fgib
    Erleuchteter
    Reaktionen
    222
    Punkte
    15,187
    Trophäen
    2
    Beiträge
    2,890
    Bilder
    14
    Einträge
    2
    Wohnort
    Burgwedel, Deutschland
    Vespa Typ
    PK 50 XL1, PX80 Lusso
    Vespa Club
    Die Milden Jungs
    • July 10, 2014 at 22:38
    • #168

    Das Problem mit dem Gestänge hatte ich auch mal. Da ging es nur, wenn dieser Verschlussclip bei der Ölstange ab war. Mit blieb er immer hängen. Hab den rausgenommen und jetzt gehts.

    Das Eiern kann von Verschlissenen Lenkkopflagern Kommen

  • Benn
    Anfänger
    Reaktionen
    1
    Punkte
    281
    Beiträge
    54
    Wohnort
    Offenbach am Main
    Vespa Typ
    vespa VA52T PK 50 xl Automatik
    • July 10, 2014 at 22:49
    • #169

    Hey Namor wenn das Gestänge hängt ist es manchmal die Rückholfeder unter Deinem getriebe sie zieht den gaszug zurück!!!
    Gruß benny
    Das oel könnte deine dichtung hinter der scheibe sein zum getriebe!!

    Bilder

    • Screenshot_2014-05-22-01-14-45.png
      • 648.4 kB
      • 1,920 × 1,080
      • 308
    • Screenshot_2014-07-10-22-57-45.png
      • 186.03 kB
      • 675 × 1,200
      • 325
    • Screenshot_2014-05-22-01-13-12.png
      • 648.07 kB
      • 1,920 × 1,080
      • 284

    Einmal editiert, zuletzt von Benn (July 10, 2014 at 22:58)

  • Namor
    Schüler
    Reaktionen
    4
    Punkte
    774
    Trophäen
    1
    Beiträge
    144
    Vespa Typ
    auf der Suche nach einer PX bis ca. 1983
    • July 10, 2014 at 23:05
    • #170

    Also das Gestänge hängt auch ein wenig, wenn ich die ferder rausnehme.
    Man muss es mit etwas Gewalt in Position bringen damit der Vergaser geschlossen ist.

    Wegen dem Eiern, Lenkkopflager habe ich komplett neu gemacht.
    Es fühlt sich eher so an alsob das Eiern vom Antriebsrad kommt.

    @Benn welche Dichtung und welche Scheibe meinst Du genau?

    Gruß ;)
    Namor

  • Benn
    Anfänger
    Reaktionen
    1
    Punkte
    281
    Beiträge
    54
    Wohnort
    Offenbach am Main
    Vespa Typ
    vespa VA52T PK 50 xl Automatik
    • July 10, 2014 at 23:47
    • #171

    Vielleicht ist es die Papier dichtung an dem deckel zum getriebe also diese ist auf dem bild im hinteren rundem deckel

    Bilder

    • 20140530_182622.jpg
      • 173.28 kB
      • 1,600 × 1,200
      • 314
  • Benn
    Anfänger
    Reaktionen
    1
    Punkte
    281
    Beiträge
    54
    Wohnort
    Offenbach am Main
    Vespa Typ
    vespa VA52T PK 50 xl Automatik
    • July 10, 2014 at 23:55
    • #172

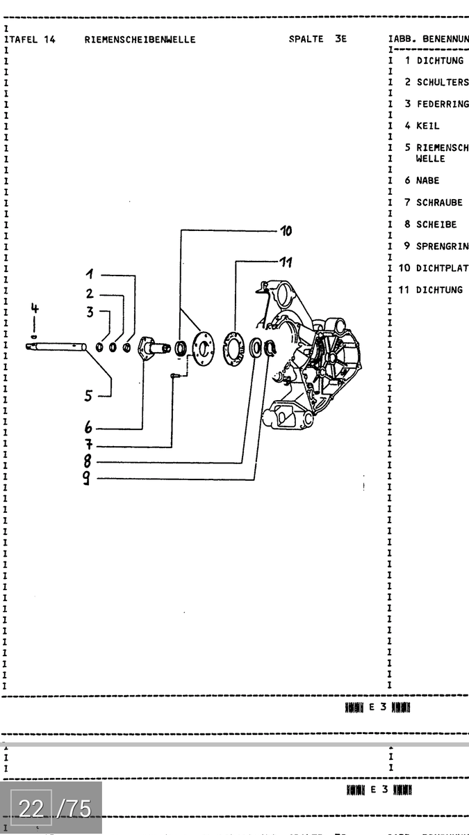
    Nr 11

    Bilder

    • Screenshot_2014-07-10-23-55-09.png
      • 175.11 kB
      • 675 × 1,200
      • 305
  • Namor
    Schüler
    Reaktionen
    4
    Punkte
    774
    Trophäen
    1
    Beiträge
    144
    Vespa Typ
    auf der Suche nach einer PX bis ca. 1983
    • July 10, 2014 at 23:58
    • #173

    sag blos ich muss das Getriebe wieder öffnen?

  • Benn
    Anfänger
    Reaktionen
    1
    Punkte
    281
    Beiträge
    54
    Wohnort
    Offenbach am Main
    Vespa Typ
    vespa VA52T PK 50 xl Automatik
    • July 11, 2014 at 00:19
    • #174

    Mhh ist eine weile her weiß es jetzt nicht mehr genau ob man für diese dichtung es öffnen musst.
    Ist auch nur eine Vermutung ob da das oel herkommt!!

  • fgib
    Erleuchteter
    Reaktionen
    222
    Punkte
    15,187
    Trophäen
    2
    Beiträge
    2,890
    Bilder
    14
    Einträge
    2
    Wohnort
    Burgwedel, Deutschland
    Vespa Typ
    PK 50 XL1, PX80 Lusso
    Vespa Club
    Die Milden Jungs
    • July 12, 2014 at 23:36
    • #175

    Das ganze Thema dreht sich ja mittlerweile um Helfen und HIlfe bekommen rund um die Automatik

    hier wurde eine lösung gefunden eine elestart zgp mit dem normalen kabelbaum zu verwenden

    anbei die zeichnung

  • Benn
    Anfänger
    Reaktionen
    1
    Punkte
    281
    Beiträge
    54
    Wohnort
    Offenbach am Main
    Vespa Typ
    vespa VA52T PK 50 xl Automatik
    • July 12, 2014 at 23:47
    • #176

    Und was hat das jetzt mit einem hangenden gas Gestänge und oel Verlust bei einer vs52t zu tun???

  • Benn
    Anfänger
    Reaktionen
    1
    Punkte
    281
    Beiträge
    54
    Wohnort
    Offenbach am Main
    Vespa Typ
    vespa VA52T PK 50 xl Automatik
    • July 13, 2014 at 00:10
    • #177

    Und du weißt schon das wir kein kickstarter haben an der va5 2T ?

  • Namor
    Schüler
    Reaktionen
    4
    Punkte
    774
    Trophäen
    1
    Beiträge
    144
    Vespa Typ
    auf der Suche nach einer PX bis ca. 1983
    • July 13, 2014 at 11:12
    • #178
    Zitat von Benn

    und du weißt schon das wir kein kickstarter haben an der va5 2t ?

    ich habe aber einen kickstarter :) .

    das problem mit dem gestänge hab ich wie folgt gelöst.
    hab einfach noch eine zweite feder dazugespannt. jetzt ist das so dicht, dass sie nicht mehr anspringt ;)
    das lässt sich über die standgasschraube lösen.


    eine weitere frage: bei der gemischschraube, wie ist das eigentlich, reindrehen= magerer, rausdrehen=fetter?

  • fgib
    Erleuchteter
    Reaktionen
    222
    Punkte
    15,187
    Trophäen
    2
    Beiträge
    2,890
    Bilder
    14
    Einträge
    2
    Wohnort
    Burgwedel, Deutschland
    Vespa Typ
    PK 50 XL1, PX80 Lusso
    Vespa Club
    Die Milden Jungs
    • July 13, 2014 at 11:13
    • #179
    Zitat von Benn

    und was hat das jetzt mit einem hangenden gas gestänge und oel verlust bei einer vs52t zu tun???

    das ganze ist eher zu einem hilfe thread für automatikfahrer geworden. eventuell kannst du es nicht gebrauchen, aber jemand anders schon.

    !!!!??????!?!?


    Zitat

    eine weitere frage: bei der gemischschraube, wie ist das eigentlich, reindrehen= magerer, rausdrehen=fetter?

    richtig so rum ist es

  • fgib
    Erleuchteter
    Reaktionen
    222
    Punkte
    15,187
    Trophäen
    2
    Beiträge
    2,890
    Bilder
    14
    Einträge
    2
    Wohnort
    Burgwedel, Deutschland
    Vespa Typ
    PK 50 XL1, PX80 Lusso
    Vespa Club
    Die Milden Jungs
    • July 16, 2014 at 11:10
    • #180

    Nochmal einen Tipp für die Automatikfahrer unter euch:

    Ich habe gestern die Obere Riemenscheibe abgenommen um mir die Rollen und die Laufbahnen anzugucken. Der Roller hatte 3200km hinter sich und eine Relativ schlechte Beschleunigung und eine Anfahrschwäche. Die Rollen liefen nicht mehr besonders gut in den Bahnen und in einer Bahn war eine ziemliche Riefe. Ich habe daraufhin die Rollen mir 400er Schleifpapier wieder etwas runder geschliffen. Danach habe ich die Laufbahnen noch angeschliffen um vorhandene Riefen zu entfernen. Dann habe ich noch die Laufbahnen und Rollen mit Bremsenreiniger gereinigt und alles wieder zusammengebaut. Nach der OP hatte der Roller eine Super Beschleunigung und der Anzug hat sich auch stark verbessert.

Tags

  • Vespa PK 50
  • Vespa Automatik
  1. Datenschutzerklärung
  2. Impressum
  3. Kontakt
  4. Geschichte der Vespa bei Wikipedia
  5. Nutzungsbedingungen
Made with ♥ in Bavaria
Community-Software: WoltLab Suite™