Hoffe, das hat geklappt mit dem Bild! Was gehört da hin? Hab jetzt alles nochmal kontrolliert - beim Zusammenbau ist mir dieses Gewinde aufgefallen - da war nichts dran! Schlimm oder unwichtig?
Falschluft oder nicht bei PK 50 XL
-
-
Ist ja auch kein Wunder, denn die Zylinderhaube fehlt. Die wird da verschraubt. Jetzt sag nicht dass Du ohne dies fährst, denn dann ist der Zylinder kaputt.
-
Nein, ich fahr schon mit - aber verschraubt war sie da nicht! Sollte man das tun, oder ist das nicht so schlimm?
-
Ist original aber nicht Notwendig wenn die auf der anderen seite drauf sind. Wenn man die Haube mal runternehmen muss, ist es fummelig an die Schraube zu kommen. Ich lass die immer raus
-
Dann lass ich die auch weg!
Was mir mehr Sorge macht, ist, dass im Zylinder zwei ziemlich tiefe Riefen drin sind - der Kolben ist allerdings unversehrt (nur etwas schwarz auf einer Seite?) Nachdem sie bisher (bis auf das Hochdrehen) ja super gelaufen ist, gehe ich jetzt mal davon aus, das wird auch nicht so tragisch sein, oder????
Oh mann - das Ganze entwickelt sich so langsam zur "Never ending story"
Danke für die Geduld!!! -
So, folgendes Problem ist aufgetreten:
Neuer Siri drin, alles wieder zusammengebaut, aber: sprang nur sehr widerwillig an, nur mit Startpilot, lief total unrund und machte komische Klapper- und Klopfgeräusche und hat auch im Stand wieder hochgedreht, als sie ein bischen warm war. Also gleich wieder ausgemacht und nochmal angeschaut und festgestellt, daß die Kurbelwelle, wenn man sie dreht, fürchterlich quietscht, also ob man zwei Gummis aneinanderreibt! Ist das normal mit neuem Siri? -
nein nicht normal. Der Simmerring musst auch richtig rum rein. Hast du den nun mal nen andern Vergaser drauf gemacht? Ich würde halt wie bereits erwähnt erst die leicht zugänglichen Teile wechseln.... Ansaugstutzen DIchtung tauschen. Zylinderfußdichtung tauschen. Auch mal das Getriebeöl angeschaut??? Bei mir war z.B der Fall, dass Motorsimmerring am sack war, dadurch wurde hubraum mit Getriebeöl geflutet. Folge: Zu Fett (schwarze Kerze) , Kolbenreiber etc. Kann bei dir auch der Fall sein. RIefen im Zylinder sind nie gut und kann Leistungsprobleme machen oder irgendwann nen ganzen Fresser. Der entstand bei dir aufgrund falsches Kerzenbilds (zu schwarz oder zu weiß)oder kein 2 Taktgemisch beigefügt. Bei langen standzeiten, speziell PK, werden wohl die Dichtungen vom Motor hin sein
-
Sag ein mal, diese Mutter scheint mir nicht fest zu sein, wenn das stimmt kann ich Dir sagen wo der Siff herkommt.
-
Also ganz blöd bin ich ja auch nicht
Die Muttern waren alle noch nicht ganz festgeschraubt, war ja noch beim Zusammenbau!
Einen anderen vergaser zum testen hab ich leider nicht! Das Getriebeöl hab ich als erstes ausgetauscht - das alte war ganz normal, halt "alt"?
den Simmering hab ich jetzt noch mal raus und nochmal einen neuen rein, jetzt quietschst nicht mehr (war und ist richtig rum drin - mit der offenen Seite nach innen halt, so wie der Alte?)
neuen dichtsatz hab ich bestellt, kommt nächste Woche und wenn das nichts hilft, dann mag ich nicht mehr!!! Mag jemand eine nette Weiße Pk? Hätt da vielleicht günstig eine abzugeben?
-
[...]
riefen im zylinder sind nie gut und kann leistungsprobleme machen oder irgendwann nen ganzen fresser. der entstand bei dir aufgrund falsches kerzenbilds (zu schwarz oder zu weiß)oder kein 2 taktgemisch beigefügt.
[...]
interessant! kann man also eine zu weiße kerze mit schwarzem edding anmalen und kann man sich dadurch einen düsenwechsel sparen oder macht das gar eine falschluftsuche überflüssig? -
interessant! kann man also eine zu weiße kerze mit schwarzem edding anmalen und kann man sich dadurch einen düsenwechsel sparen oder macht das gar eine falschluftsuche überflüssig?was willst du mir mit deiner aussage nun sagen? ich setz mal vorauss, dass die kerzenbilder bekannt sind. ansonsten erklärs ihm doch besser. ich will ihm nur helfen und nicht im gegensatz zu dir mit blöden sprüchen.
-
Also, "ihm" ist übrigens ne "ihr"
Und seid doch lieb zueinander!!! -
Außerdem ist "sie " dankbar für die viele Hilfe und die vielen Tipps hier!!!

-
Würde die ja nicht weg tun, ich war kurz davor meine auch weg zu tun aber ich bin glücklich das ich die noch hab
also nicht direkt die Flinte ins Korn schmeißen 
-
Wie gesagt - eine Chance geb ich ihr und mir ja noch mit dem neuen Dichtsatz (evtl. spendier ich noch einen neuen Vergaser)
Aber dann muss echt gut sein! Will auch mal wieder auf die Strasse damit! Bilder von meiner gäbs solche im Moment nämlich nicht - nur immer irgendwo zerlegt
-
Wenn du sonst vom Aussehen zufrieden bist, da du sie ja gekauft hast würde ich sie nicht gleich wieder verkaufen. Du hast bei nem Vespakauf immer das Risiko, dass das Teil nach ner Weile Falschluft zieht. Willst du die nächste dan auch verkaufen? Auch die Simmerringe sind verschleißteile und die werden irgendwann bei jeder fällig.Erkundig dich in Zukunft bei nem Kauf nach den Standzeiten bzw. orientier dich an den Kilometern. Ich würde nie , wie aktuell in kleinanzeigen, ne xl2 von 1990 mit 800 km kaufen...Lange STandzeiten sind gift für die Motordichtungen. Auch immer ne Probefahrt von 20 Min machen, die Karren ziehen oft erst bei warmen motor falschluft.
-
Habt ja recht! Allerdings stand sie nicht lang - wurde bisher täglich vom Vorbesitzer für die Fahrt n die Uni benutzt- bei jedem Wetter!
Nervt mich halt nur, dass ich jetzt auch noch nen neuen zylinder Brauch! Aber dann mach ich mich nächste Woche halt mal an die arbeit!!! -
Hallo allerseits,
habe den Thread gerade mal überflogen und wollte mich hier auch mal kurz einklinken. samis99, du bist nicht die einzige, der (dem) das passieren kann
. Ich habe mir vor kurzem eine XL 2 geholt und die zieht glaube ich auch Falschluft.auch immer ne probefahrt von 20 min machen, die karren ziehen oft erst bei warmen motor falschluft.
kann ich bestätigen. habe bei meiner probefahrt nichts davon gemerkt. sie läuft am anfang einwandfrei und später bei runterschalten kommt sie manchmal (aber eher selten) nicht runter. => falschluft?gruß
riede -
sie läuft am anfang einwandfrei und später bei runterschalten kommt sie manchmal (aber eher selten) nicht runter. => falschluft?
hast du den vergaser richtig eingestellt? in dem fall würde ich nicht gleich auf falschluft tippen.
-
hast du den vergaser richtig eingestellt? in dem fall würde ich nicht gleich auf falschluft tippen.
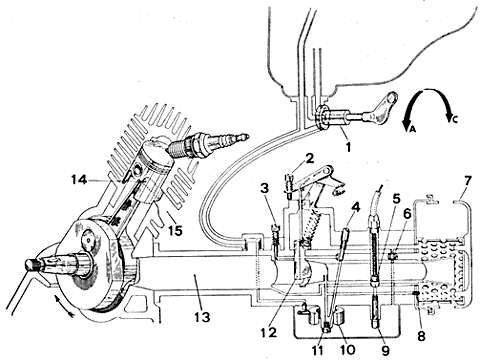
das standgas war etwas niedrig eingestellt. habe es über die standgasschraube am vergaser (nr. 2 im bild) etwas erhöht und jetzt läuft sie wieder, ohne aus zu gehen. oder war das nicht so gut? gibt es eine grundstellung, von der man den vergaser neu einstellen sollte? (ich weiß leichtes offtopic) -